雨雪傳感器
- 產品介紹
MC-YX型雨雪傳感器
1 | 概述 |
雨雪傳感器利用雨水的導電特性,采用表面柵形電極感應外界雨雪情況,檢測是否有雨雪,內部采用智能微處理器,內置自動加熱裝置可排除雨雪附著的干擾,保障系統的正常運行。繼電器為一組常開、一組常閉,方便安裝使用。

2 | 雨雪傳感器特點 |
1、體積小,安裝方便
2、結構設計合理
3 | 適用范圍 |
適用于實現對雨雪有無的測量,可廣泛用于氣象、海洋、環境、機場、港口、實驗室、工農業及交通等領域的雨雪有無定性測量
4 | 外形規格 |

5 | 技術參數 |
供電電壓:12~24V DC
輸出信號:繼電器,常開(標配),另可選配常閉 RS485
工作電流:10mA@12V(非加熱) 1A@12V(加熱)
加熱方式:自動
負載能力:AC 220V 1A DC 24V 2A
電纜長度:2米四線制(標配)
6 | 接線方式 |
紅色:電源正極
黑色:電源負極
綠色:信號A
黃色:信號B
注意:接線時一定要小心,如果電源電壓過高或極性接反,將造成傳感器的永久性損壞
RS485協議報文
修改地址,例如:將地址為01的傳感器改地址為02,主機→從機
原地址 | 功能碼 | 預留1 | 預留2 | 預留3 | 新地址 | CRC16低 | CRC16高 |
01 | 06 | 00 | 00 | 00 | 02 | 08 | 0B |
若傳感器接收正確,原樣返回
如果忘記傳感器的地址,可以使用廣播地址FE來更改,主機→從機
廣播地址 | 功能碼 | 預留1 | 預留2 | 預留3 | 新地址 | CRC16低 | CRC16高 |
FE | 06 | 00 | 00 | 00 | 01 | 5C | 05 |
若雨雪傳感器接收正確,則原樣返回
注:使用廣播地址FE時主機在同一時間只能接一個從機。
三、查詢數據
查詢傳感器(地址為01)的數據,主機→從機
地址 | 功能碼 | 起始寄存器地址高 | 起始寄存器地址低 | 寄存器長度高 | 寄存器長度低 | CRC16低 | CRC16高 |
01 | 03 | 00 | 00 | 00 | 01 | 84 | 0A |
地址 | 功能碼 | 數據長度 | 寄存器0數據高 | 寄存器0數據低 | CRC16低 | CRC16高 |
01 | 03 | 02 | 00 | 01 | 79 | 84 |
降雨雪狀態:01表示有,00表示無 | ||||||
數據表示方法:數據寄存器數據低顯示:01表示有雨或者雪,00表示無雨雪。
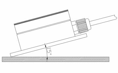
7 | 雨雪傳感器安裝方式 |
安裝時,應保持傳感器感應面與水平面成15度夾角,以防雨、雪的堆積對傳感器測量造成影響。

8 | 維護和保養 |
雨雪傳感器是具有優良設計和功能原理的科技產品,應注意維護和保養。下列建議將幫助您有效使用保養服務。
1、避免儀器被刮劃,保持外部保護膜完整性,增加儀器使用壽命。
2、粗暴地對待儀器會毀壞內部電路板及精密的結構。
3、使用清潔、干燥的軟布清潔儀器外部。

9 | 產品保修 |
本產品保修期為一年。從發貨之日算起,十二個月內,因傳感器質量問題(非人為損壞)而引起的故障,本公司負責免費維修或更換,超過保修期后只收成本費。




